
In view of recent events, it appears that entrepreneural space is taking two main forms: suborbital passenger service and low orbit satellites. An example of the first is Scaled Composites and the newly formed Virgin Galactic. An example of the second is SpaceX.
Both have in common a plan to make a profit in an expensive and uncertain environment. Much of the stress and efforts of this type of venture will be centered around the investment/profit issues, with less emphasis on the technology development, at the very time technology development is needed.
The Wright Brothers were not at first trying to set up a business. They were trying to build an airplane.
Microlaunchers is an attempt at a third approach to developing space access: to, with miniature size and budget, develop a vertically integrated spacecraft launch/deployment system.
The system or portions of it then can be expanded with confidence after the initial system has proved itself.

This is the LOX loading of a test done in June 1995 of a rocket partially built by some in the Pacific Rocket Society. As president then, I had designed this late 1993 for a project to have the first amateur rocket "reach space". The design was presented at an AIAA meeting Dec. 15 1993.

The engine ran for 52 seconds at about 2000 pounds thrust. The "smoke" is dust stirred up by the exhaust.

Space tourism is getting the most press because of the recent X-Prize and plans to build a huge new industry. It's not going to be that simple. If any of these do actually start flying paying passengers, the business and financial risks are so great that the effort will be focused on making it succeed and not developing access to space--to at least delivering people to a LEO satellite.
"Tabletop spacecraft" refers to efforts to develop some device, satellite, or even space a station module without first developing the launch means. At the start of the non-NASA space age, means to get there must come first. An air show cannot precede the airplane.
The satellite launch service to deliver the current types of satellites weighing hundreds to a few thousand pounds will confront a problem: Those with such satellites tend to have in their long involved construction process the choice of available launcher already factored in, together with the attendant costs.
Also, there are just too few of these to support a new business centered around a new launcher. A good example is the Orbital Sciences Pegasus air launched system. In 15 years there have been a total of only 36. Too few and infrequent to allow a launch cost breakthrough.
To develop a low cost basis from which an industry can evolve, a launch system must fly very frequently and be very small.
I mean small: The Wright Brothers did not build a DC-3. They built something that barely carried two.
The launch system must be so simple to operate that some launchers might be kept on standby for launch at a Near Earth Object--very small asteroids which pass by daily, some of which being reachable for photo flyby.

With a small in-house organization (Wright Brothers being a good example) the components of the system should be developed incrementally.
The testing and licensing of the stages should be done incrementally, so each stage supports testing of the next.
The system needs to be complete, from launch to tracking and controlling the ascent, with initiating abort if needed, to release of a detatchable payload.

By perfecting a first generation of very small launcher/spacecraft combination, and using a high launch rate the cost basis for all scaled up versions to follow would be minimized. Also, the skills to launch and manage spacecraft would develop.
Later, with subsequent funding, a ten times increase of mass can enable a considerable increase in payload mass. A second generation launcher with a gross liftoff mass ten times greater could allow a mass of 50 pounds to escape velocity, allowing about 20 pounds to be soft landed on the moon or a Near Earth Object.
The Microlauncher system would not even get involved with Low Earth Orbit.

There is not yet a real market for this. One will be created.
The major component of the system is the launch vehicle. This is to use 3 stages, each using a type of staged combustion engine derived from a single "prototype engine". A customer or funding might support development of a staged combustion turbopump engine, to be used for the first stage.

The first stage is to deliver the upper two to an altitude having near vacuum conditions--about 60 to 70 Km (200,000 to 233,000 feet), while having the vertical momentum to continue to about 100 Km. This "lofted" trajectory permits a more horizontal attitude for the second stage, in a way similar to Shuttle launches. The initially planned horizontal component is to be low for easy recovery and because the first stage, having greater mass and lower specific impulse, will leave the task of accelerating to the upper stages. Here, 600 m/sec at 30 deg. latitude gives a possible eastward velocity of 1 Km/sec.
The second stage will operate in a vacuum, and have a higher specific impulse and lower empty mass because the operating pressure can be lower and no aerodynamic provisions are needed. Carrying the third stage, it is to increase the horizontal velocity by about 4 Km/sec. The structure will be mainly thin wall aluminum tubing tanks and a low pressure engine. The tank pressure is to be about 10 atmospheres and the engine pressure 5 atmospheres.
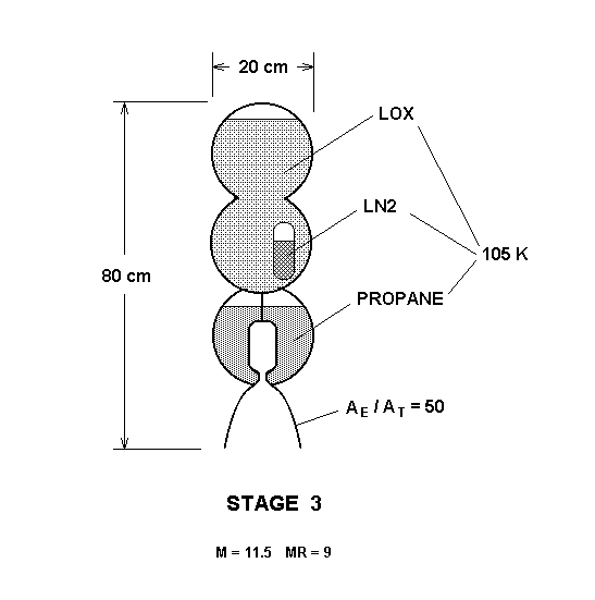
The third stage is to make use of very thin electroformed nickel structure and use a low tank and engine pressure to allow a very low empty weight. The tank pressure is to be about 0.38 MPa (57 psia), the vapor pressure of liquid oxygen at 105 deg K; and an engine pressure of about 0.15 MPa (1.5 atm). The low pressures are to allow low mass and radiation cooling of part of the engine.
It is to accelerate and increase the horizontal velocity by about 6 Km/sec, so that the horizontal velocity will exceed 11 Km/sec, the escape velocity from the altitude at which the third stage is out of propellants.
An optical guidance based on a camera looking at the sun and the earth horizon is to be carried on the stage, and is to guide the second and third stages. Optical tracking from the launch site will enable adjustment or termination of the flight.

Shown here is the turbopump engine version. The structural layout of the pressurized propellant vesion is more complicated because it requires a larger number of smaller diameter tank tubes.
In either case, there is to be two engines--one, the "sustainer" of about 1000 pound thrust, and the "booster of over 2000 pounds thrust. Both operating together are to accelerate the launcher to a high subsonic velocity, say, 250 m/sec, at which time the booster engine shuts off and the sustainer continues. This is to allow the small launcher to climb through the denser part of the atmosphere quickly but without aerodynamic loads becoming too high. This type of ascent is more optimum for small vehicles more subject to aerodynamic drag than the usual larger launchers. It is not to reach supersonic speeds until the altitude is over 5 to 10 Km.
The propellant tanks are the main structure, with the engines and fins at the lower end, a "wing box" at an adjustable point near the center of gravity, and the upper stages within an enclosure at the upper end. The wings are to extend in a manner similar to those of a cruise missile, after the stage has decelerated to a low subsonic velocity.

At launch there is a short high acceleration period in which the velocity reaches 250 m/sec in about 8 to 12 seconds at an altitude of about 2 Km (6000 ft). The sustainer continues the acceleration to the velocity of about 1200 m/sec (Mach 4), at which time the engine is to throttle down to a low thrust to maintain enough acceleration to keep the propellants settled at the bottom of each tank.
The stage is to orient itself to the pitch for launch of the second stage at an altitude of about 60 Km, while the vertical velocity is still about 900 m/sec.
The second stage is to accelerate nearly horizontally toward the east to take advantage of the earth rotation of about 400 m/sec if the latitude is 30 degrees.

For recovery, airbrake panels are extended and locked open at high altitude, and these panels help the final velocity after reentering denser air to become low enough for the extension of wings to be done without too much power required. The velocity might be 100 m/sec indicated speed (equivalent speed at sealevel).
The wings are to extend and the brake panels retract while the stage is still descending vertically so there is no lift to make the extension difficult. An on-board accelerometer and gyroscope is then to control a pullout maneuver at, say 3 G's, and to finish the pullout with the stage gliding horizontally.
A pitot tube on the nose is to then maintain a steady glide speed of, say 40 m/sec (78 knots) by controlling the pitch. The stage is then to glide in this way until it is picked up and taken in tow by a small aircraft. The towing force will be less than 50 pounds.

Each propellant tank is to be a self contained unit with a capacitive depth sensor, shutoff valve and a motor driven variable partially restricting valve.
A comparator circuit is to measure the contents of each tank in turn at, say one complete cycle each second, and cause an incremental increase in opening of the valve of the tank least depleted. In each cycle the tank most depleted will have its valve closed by a small increment. This is to cause all the tanks to drain together, with little or no residual of contents. This will work with any number of tanks and any number of propellants (a first stage version might use water as coolant).

The engines are to use a 'pre-burner' to change the LOX to a high pressure gas which is to enter the engine at perhaps 100 m/sec. This will facilitate the atomization of the fuel and permit a wide range of throttling, because, in lowering the thrust only the oxygen gas pressure changes, not its volume. The range of thrust may be more than ten to one.
The preburner is to be able to operate by itself, using servos to control the temperature and pressure of the oxygen. The oxygen is to pass through a nozzle in order to isolate the preburner from the combustion chamber downstream. An oxygen to fuel ratio of 100 to 1 will produce a gas temperature of about 60 C.
The preburner will then be coupled to the remainder of a test engine in order to test the fuel atomization and a property called characteristic velocity--an indicator of the engine performance.
The test engine will be water cooled with measurement of the heat conducted from the chamber being measured. This is to confirm the choice of regenerative cooling method.

The numbers given here are preliminary estimates that the prototype engine is to confirm. The engines for all three stages are to then be designed as a scaling up or down of size and pressure. If funds are found to first develop a turbopumped engine, that will be used for the first stage.
The third stage is to be constructed almost entirely of electroformed nickel. With this method there is no "minimum guage problem"--the problem of finding materials that are thin enough for small low pressure tanks.
The LOX and propane fuel tanks are to use three identical nearly spherical shells coupled in a way to be published later.

The propellants and a small capsule of liquid nitrogen will be kept at 105 degrees K, at which the the pressures of the three liquids will determine the feed rate and engine pressure.
The engine is to operate with a low chamber pressure--perhaps slightly higher than one atmosphere, so that the lower heat flux will allow major parts of it to be radiation cooled at a reasonable temperature.
This low chamber pressure will also allow more extensive testing, designing of the injector and combustion chamber in a testing environment that is simpler than the usual test stand.
The path likely for a successful launch slightly over the escape velocity and using an eastward launch in the late afternoon will become a slightly elliptical solar orbit, with most of it being beyond Earth's orbit. This way, it will tend to be in line-of-sight at night for the first 6 months or so.

After confirming a velocity in excess of escape minutes to an hour or so after launch, the main next stage in developing the microlauncher system will be the means to keep a detached payload oriented and in communication with a place on Earth. The plans for developing this will be published later.
At first, the launches will be centered around the launcher performance, and there would not be a detachable payload. The launchers will support spacecraft development, diode laser link tests, and perhaps to persue some revenue possibilities such as sending to solar orbit samples of cremated remains. With an in-house launcher, this becomes a possibility.

Later, there would be tests of a spacraft structure which can maintain 3 axis orientation with solar radiation pressure and no use of consumables, and a pointable laser diode data link. The data link design details will be published later.
Then, a small cold gas thruster system using room temperature ammonia will be designed to give a velocity deviation capability of 100 m/sec.
A complete spacecraft might have built in the electronics of an off-the-shelf digital camera. Stripped of the packaging, these weigh very little and can offer megapixel quality images rivaling those from NASA not many years ago.
The issue of radiation hardening can be explored by observing the condition of the electronics over months. Many NEO's can be reached in a relatively short time, so commercially available electronics may last long enough to be useful.
Another importand product of many cheap launches will be the development by a substantial number of people the navigational skills which are vital to opening access to the solar system.
This is what happened with computers. Millions have them and have developed the skills to use them. A social revolution.
Some NEO's (which could someday be called microlauncher targets) pass Earth at a velocity low enough so that rendevous and controlled landing may be possible. The guidane for such a lander can make use of the chips used in an optical mouse. Because of the way they operate, the guidance will tend to allow the approach velocity, deceleration and distance to converge on zero together so the craft would not bounce off. The escape velocity of many of NEO's is less than 1 foot/sec.

The guidance might use a small diode laser as a LIDAR, and one mouse chip to control the transverse movement while the LIDAR controls the descent. Or it could be wholly passive, using 3 or 4 mouse chips which together measure the movement in 3 axes.

The project and funding of it will be done in a piecemeal fasion, possibly combining with partners interested in a development of one or more of these subsystems. SBIR or DARPA funding might likewise be sought for a subsystem as a separate project. In time, it is hoped that this will eventually add up to the Microlauncher System.
The first stage of the small microlauncher will probably use a pressurized propellant system, but for a scaled up launcher, a turbopump type engine would avoid the need of large high pressure tanks and to take advantage of the higher performance and lighter structural weight possible.
If a partner were to be found who was interested, this engine type might be developed earlier and used in the small microlauncher.

The preburner developed for the upper stage engines would be scaled up in size and pressure to drive a turbine with oxygen gas at a moderate temperature, say, 500 to 600 K (230 to 330 C) so the materials for the turbine and associated parts can be of copper, bronze, or monel. The Russian RD-170 uses an oxygen temperature of 772 K in order to get the power to support a very high chamber pressure. For a lower pressure of, say, 3.3 MPa (500 psi), calculations show that the lower temperature is sufficient.
As with the non-turpopump type, the high velocity oxygen will allow effective atomization of the fuel, or possibly there might be a fuel preburner which uses some of the LOX from the pump to heat the fuel enough so it enters as a gas or supercritical fluid. Having no surface tension the fuel will not form drops and no atomization will be required.
The design process is still underway, but it appears that this engine type can be throttleable over a wide range and be lighter and more efficient than the pressurized type.
Incidentally, I am using SI measurements for the actual design calculations because pounds, slugs, poundals, square feet etc is just too confusing. Also, English units caused loss of a Mars orbiter once.
One of the reasons for publishing technical descriptions of the designs is, in the event they are patentable, I will have one year from publication (April 29, 2005 in this case) to file for a patent.